| 產品信息 | |
| 產品型號:DZPG;KG-2-3-8-C/S | 產品壓力:1.0Mpa-2.5Mpa |
| 產品口徑:DN40-DN1200 | 產品材質:碳鋼WCB;不銹鋼304/316 |
021-5187 5832 |
tooezg@126.com |
資料下載 |
價格表 |
| [ 下一個產品 ] [ 上一個產品 ] | |
美國圖爾閥門辦事處-上海圖爾流體技術有限公司提供【全自動反沖洗過濾器】標準、圖紙、原理、參數、認證、說明書。質量可靠,價格合理,售后優質。我們擁有專業的生產技術圖紙和完整的技術服務方案,為用戶提供一站式的系統解決方案。
全自動反沖洗過濾器概述
全自動反沖洗過濾器,是一種壓力式自清洗密封過濾器,具有在線過濾、除污、排污功能,主要用于各種閉式循環系統(空調系統、工業冷卻系統、取暖系統等)的循環水過濾、凈化處理。該系列除污器主要是根據進出水壓力差進行反沖洗的操作,以達到自清洗濾網的功能。自動反沖洗過濾器適用于各種供水系統、工藝水系統和工業冷卻水,特別適用于24小時運行的系統。能過濾水中的機械雜質,保證系統和下游閥門設備的安全可靠運行。
![]() |
![]() |
![]() |
全自動反沖洗過濾器參數
| 公稱通徑:DN40-DN1200 | 閥體材質:碳鋼WCB;不銹鋼304/316/316L | |
| 公稱壓力:1.0Mpa-2.5Mpa | 清洗方式:電動刷式 | |
| 適用溫度:-10℃≤T≤150℃ | 過濾精度:0.8mm-6mm(特殊要求需另行設計) | |
| 適用介質:水;液體等 | 控制電源:380V/50Hz | |
| 壓力損失:≤0.015MPa | 控制電壓:AC24V | |
| 安裝方式:水平或垂直向下安裝 | 清洗時間:30s-60秒 | |
| 控制方式:壓差(進出水壓差達到0.06-0.08MPa之間);定時;手動及PLC | 濾網形式:鉆孔(4000-800μm);楔形(1000-50μm);編織復合(800-20μm) |
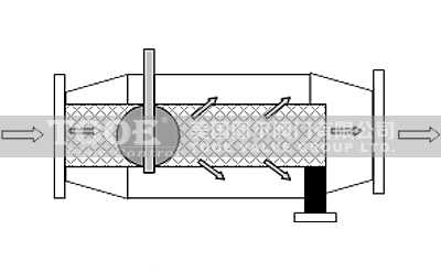
全自動反沖洗過濾器工作原理
反沖洗過濾器主要由優質碳鋼筒體、濾筒、電動排污閥、水流導向閥、換向執行器、壓差控制器、電接點壓力表等組成。當過濾器工作時,水流由入口進入過濾器,經過濾網過濾,水中的雜質被濾網截留,潔凈的水經出水口送出(見圖1)。當過濾器進出水壓差達到0.06-0.08MPa之間(或出水壓力過低,不能滿足后置系統正常運行)時,則需要對濾網進行反沖洗。關閉水流導向閥,水流經濾網內側進行反沖洗,濾網截留的雜質經排污口排出,起到反向自動沖洗濾網的作用。整個反沖洗過程系統可正常運行,無需停機。
![]() |
![]() |
| 正常過濾狀態(水流導向閥開啟) |
反洗排污狀態(水流導向閥關閉)
|
全自動反沖洗過濾器控制方式
自動時間控制:在過濾時間控制器上設定反洗時間,當達到反洗時間,啟動排污及導流閥,排污時間由排污時間定時器設定。
自動壓差控制:過濾器前后壓差與用戶設定的壓差相比較,當過濾器壓差達到設定壓差時,過濾器也進行清洗排污,排污時間由排污時間定時器設定。排污結束,停止清洗,系統恢復至初始狀態,為下一個過濾工序做好準備。
手動操作控制:按下作面板上清洗按鈕,過濾器進行排污。
![]() |
![]() |
全自動反沖洗過濾器尺寸
![]() |
![]() |
|
進出口徑
|
DN50
|
DN65
|
DN80
|
DN100
|
DN125
|
DN150
|
DN200
|
DN250
|
DN300
|
DN350
|
DN400
|
DN450
|
|
排污口
|
DN25
|
DN25
|
DN25
|
DN40
|
DN40
|
DN50
|
DN50
|
DN50
|
DN65
|
DN65
|
DN80
|
DN80
|
|
處理水量
|
19T/H
|
28T/H
|
50T/H
|
80T/H
|
125T/H
|
180T/H
|
320T/H
|
490T/H
|
710T/H
|
970T/H
|
1260T/H
|
1590T/H
|
聲明及條款:美國圖爾閥門集團有限公司(TOOE VALVE GROUP LTD.)注冊于美國特拉華州丹佛市肯特郡,是一家集設計研發及生產于一體的跨國性閥門企業。在中國,TOOE在上海及浙江亦有授權合作的代工廠。上海圖爾流體技術有限公司作為美國圖爾閥門集團有限公司在中國的正式授權辦事機構,全權代表圖爾閥門集團有限公司在中國各項推廣、銷售、技術支持以及相應的服務工作。且擁有"TOOE"、"圖爾流體"的商標及名稱的使用權。此產品為外協代加工,本網站所刊載的所有圖文信息僅供參考,實物以實際交付為準。上海圖爾流體技術有限公司同時經銷其他進口閥門品牌的"進口全自動反沖洗過濾器"產品。










021-5187 5832
tooezg@126.com














在線客服
聯系手機


